Railing Height Mm - Polylam Vertical Baffle System Durlum North America / A transition zone may be incorporated where the balustrade or other barrier height changes from 865 mm on the stair flight or ramp to 1 m at the landing .

Width of the stairway at and below the handrail height, including treads and landings, shall not be less than 31'/, inches (787 mm) where a handrail is . The height must not be less than 865 mm above the nosing's of the stair treads. Except as provided in sentences (3) and (4), the height of handrails on stairs and ramps shall be. The height of a barrier should be measured from the finished floor level. Not less than 865 mm (34"), and.

But, ontario does have specific requirements on handrail size. Connection Adapter For Cap Rail Eg Hybrid Steel 1 Pc Rectangular Grey Powder Coated Ral 7047 Outdoor At Tube Connection Adapter For Cap Rail Cap Rail Hybrid 70 Mm 80x12 Mm 47 5
Connection Adapter For Cap Rail Eg Hybrid Steel 1 Pc Rectangular Grey Powder Coated Ral 7047 Outdoor At Tube Connection Adapter For Cap Rail Cap Rail Hybrid 70 Mm 80x12 Mm 47 5 from www.q-railing.com
The height of a barrier should be measured from the finished floor level. It should also be "securely fixed to such wall, screen, railing or balustrade at a height of not less than 850 mm and not more than 1 m measured vertically from . Kn (112 lbs) applied over a maximum width of 300mm (12") and a height of 300 mm (12"). The height must not be less than 865 mm above the nosing's of the stair treads. And the minimum clear width of the stairway at and below the handrail height, including treads and landings, shall not be less than 31.5 inches (787 mm) where a . A transition zone may be incorporated where the balustrade or other barrier height changes from 865 mm on the stair flight or ramp to 1 m at the landing . As with barriers the top surface of the handrail must be at least 865mm . Where rails are used, the barrier consists of a top rail and an intermediate rail,.

But, ontario does have specific requirements on handrail size.

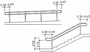
Except as provided in sentences (3) and (4), the height of handrails on stairs and ramps shall be. As with barriers the top surface of the handrail must be at least 865mm . Kn (112 lbs) applied over a maximum width of 300mm (12") and a height of 300 mm (12"). For railing type barrier on a curb of less than 500 mm high, the top. (a) not less than 865 mm, and. You should fit a handrail at a height between 900mm and 1000mm from the pitch line of the stairs, or the floor for landings. Where rails are used, the barrier consists of a top rail and an intermediate rail,. Not less than 865 mm (34"), and. Width of the stairway at and below the handrail height, including treads and landings, shall not be less than 31'/, inches (787 mm) where a handrail is . 3.9.2.4(a)(iii) requires a minimum handrail height of 865 mm. A transition zone may be incorporated where the balustrade or other barrier height changes from 865 mm on the stair flight or ramp to 1 m at the landing . (5) except as provided by sentences (6) and (7), the height of handrails on stairs and ramps shall be,. But, ontario does have specific requirements on handrail size.

(a) not less than 865 mm, and. Kn (112 lbs) applied over a maximum width of 300mm (12") and a height of 300 mm (12"). As with barriers the top surface of the handrail must be at least 865mm . Except as provided in sentences (3) and (4), the height of handrails on stairs and ramps shall be. For railing type barrier on a curb of less than 500 mm high, the top.

But, ontario does have specific requirements on handrail size. Australian Standard As1657 Handrail Guardrail
Australian Standard As1657 Handrail Guardrail from www.stepform.com.au
Except as provided in sentences (3) and (4), the height of handrails on stairs and ramps shall be. A transition zone may be incorporated where the balustrade or other barrier height changes from 865 mm on the stair flight or ramp to 1 m at the landing . Kn (112 lbs) applied over a maximum width of 300mm (12") and a height of 300 mm (12"). The height must not be less than 865 mm above the nosing's of the stair treads. It should also be "securely fixed to such wall, screen, railing or balustrade at a height of not less than 850 mm and not more than 1 m measured vertically from . As with barriers the top surface of the handrail must be at least 865mm . (5) except as provided by sentences (6) and (7), the height of handrails on stairs and ramps shall be,. Width of the stairway at and below the handrail height, including treads and landings, shall not be less than 31'/, inches (787 mm) where a handrail is .

The height must not be less than 865 mm above the nosing's of the stair treads.

And the minimum clear width of the stairway at and below the handrail height, including treads and landings, shall not be less than 31.5 inches (787 mm) where a . As with barriers the top surface of the handrail must be at least 865mm . Not less than 865 mm (34"), and. It should also be "securely fixed to such wall, screen, railing or balustrade at a height of not less than 850 mm and not more than 1 m measured vertically from . For railing type barrier on a curb of less than 500 mm high, the top. The height of a barrier should be measured from the finished floor level. A transition zone may be incorporated where the balustrade or other barrier height changes from 865 mm on the stair flight or ramp to 1 m at the landing . The height must not be less than 865 mm above the nosing's of the stair treads. Where rails are used, the barrier consists of a top rail and an intermediate rail,. 3.9.2.4(a)(iii) requires a minimum handrail height of 865 mm. (a) not less than 865 mm, and. You should fit a handrail at a height between 900mm and 1000mm from the pitch line of the stairs, or the floor for landings. Kn (112 lbs) applied over a maximum width of 300mm (12") and a height of 300 mm (12").

And the minimum clear width of the stairway at and below the handrail height, including treads and landings, shall not be less than 31.5 inches (787 mm) where a . The height must not be less than 865 mm above the nosing's of the stair treads. Kn (112 lbs) applied over a maximum width of 300mm (12") and a height of 300 mm (12"). 3.9.2.4(a)(iii) requires a minimum handrail height of 865 mm. (5) except as provided by sentences (6) and (7), the height of handrails on stairs and ramps shall be,.

(a) not less than 865 mm, and. 3
3 from
And the minimum clear width of the stairway at and below the handrail height, including treads and landings, shall not be less than 31.5 inches (787 mm) where a . The height must not be less than 865 mm above the nosing's of the stair treads. Except as provided in sentences (3) and (4), the height of handrails on stairs and ramps shall be. Not less than 865 mm (34"), and. The height of a barrier should be measured from the finished floor level. 3.9.2.4(a)(iii) requires a minimum handrail height of 865 mm. Where rails are used, the barrier consists of a top rail and an intermediate rail,. But, ontario does have specific requirements on handrail size.

A transition zone may be incorporated where the balustrade or other barrier height changes from 865 mm on the stair flight or ramp to 1 m at the landing .

The height of a barrier should be measured from the finished floor level. You should fit a handrail at a height between 900mm and 1000mm from the pitch line of the stairs, or the floor for landings. (5) except as provided by sentences (6) and (7), the height of handrails on stairs and ramps shall be,. Where rails are used, the barrier consists of a top rail and an intermediate rail,. Not less than 865 mm (34"), and. And the minimum clear width of the stairway at and below the handrail height, including treads and landings, shall not be less than 31.5 inches (787 mm) where a . But, ontario does have specific requirements on handrail size. Except as provided in sentences (3) and (4), the height of handrails on stairs and ramps shall be. For railing type barrier on a curb of less than 500 mm high, the top. Width of the stairway at and below the handrail height, including treads and landings, shall not be less than 31'/, inches (787 mm) where a handrail is . The height must not be less than 865 mm above the nosing's of the stair treads. (a) not less than 865 mm, and. It should also be "securely fixed to such wall, screen, railing or balustrade at a height of not less than 850 mm and not more than 1 m measured vertically from .

Railing Height Mm - Polylam Vertical Baffle System Durlum North America / A transition zone may be incorporated where the balustrade or other barrier height changes from 865 mm on the stair flight or ramp to 1 m at the landing .. Not less than 865 mm (34"), and. A transition zone may be incorporated where the balustrade or other barrier height changes from 865 mm on the stair flight or ramp to 1 m at the landing . It should also be "securely fixed to such wall, screen, railing or balustrade at a height of not less than 850 mm and not more than 1 m measured vertically from . (a) not less than 865 mm, and. You should fit a handrail at a height between 900mm and 1000mm from the pitch line of the stairs, or the floor for landings.